時間:2012-06-18 返回列表
溫馨提示:如果您對我們的產品、服務感興趣,或者有什么可以幫助您的,您可以點擊 在線咨詢與我們在線交談或者撥打我們的客服電話:0371-6777 2626
某燒結機配套四輥破碎機是以四個液壓缸來代替四組彈簧,相對于同等破碎能力的四輥破碎機。該設備詞方便,省力,機器噪聲小,但由于其液壓系統存在一些缺陷,在使用過程中出現了系統不保壓,不能準確調節輥縫大小、破碎粒度達不到技術要求,輥皮磨損嚴重等問題。
某公司采用400平方米燒結機的四輥破碎機為現代大型破碎機械,其頂緊系統采用的是液壓系統,其液壓系統原理如圖1所示。

在實際使用中,發現這套液壓系統存在許多缺陷。其被動輥是高于液壓缸頂緊,液壓缸的緊力依靠托運調節系統溢流閥6;系統溢流閥前沒有截止閥,當調節好系統溢流閥后,因安全閥10的調定值比系統溢流閥6的調定值高,在系統內不能調節安全閥10的調定值;該液壓系統分為兩個去路,每個去路有兩個蓄能器,兩個蓄能器之間是連通的,不便于調節各自的安全閥;其被動輥的鎖緊是依靠截止閥8的關閉,鎖緊效果不好,不能很好的保證輥縫的大小,從而使主動輥和被動輥之間互相摩擦,使輥皮磨損嚴重,破碎粒度也難以達到要。尤其嚴重的是,一旦有大體積且高強度的異物進入破碎機時,因液壓缸的有桿腔是封閉的,活塞桿身后退縮時,有桿腔將形成錌,阻止活塞桿退縮,這樣應付對設備造成硬損傷;截止閥8的關閉、換向閥7的操作、系統溢流閥6的調節是依靠崗位工手動操作,增加了工作的勞動負擔,同時對崗位工勞動技術的要求也提高了;這套液壓系統是依靠單向節流閥12的武器大小來實現同步高速,同步精度較差,因沒有一套行之有效的調節輥縫的方法,崗位工實際操作難度很大。
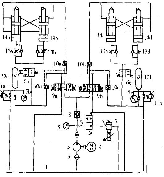
改進后的液壓系統原理如圖所示。
此輥縫液壓調節系統由油箱、過濾器、電機、油泵、先導型比例電磁式溢流閥、單向閥組成恒壓源。系統由恒壓源,蓄能器,二位二通單電磁閥,三位四通p型拘役閥、液控單向閥、安全閥、單向節流閥、截止閥、壓力表、平衡缸及管路組成。這套輥縫液壓調節系統的系統壓力的調節,安全閥的壓力調節,液壓缸的換向及液壓缸的定位全部都是自動的,并且能對系統起保護作用。上下輥的安全閥和工作壓力可在操作臺上分別高速,以滿足各自工作需要。

壓力油由壓力源出來后,分為兩個去路,每個去路有兩個液壓缸,分別控制上被動輥和下被動輥。每個去路上的兩個液壓缸有桿腔之間用管子連通,以保證壓力值相同,同時使液壓缸前的單向節流閥的武器一致,進而確保兩個液壓缸的運動同步,使主動輥的軸線平行,有利于輥縫處處相等,有利于破碎機的破碎粒度均勻。該液壓缸活塞桿和被動輥的軸承箱連接。蓄能器的卸油回路上安裝有安全閥,一旦有大體積縣城高強度的異物進入破碎機時,無桿腔的高壓油可通過蓄能器的卸油回路卸壓,有桿腔可通過液壓控制單向閥10a,10b三位四通p型換向閥9a、9b、油管從油條吸油,避免液壓缸的有桿腔形成真空,而使液壓缸不能縮回,液壓缸向后退縮后,主動輥和被動輥之間間隙變大,避免引起設備硬損傷;液壓鎖緊回路準確定位,可控制主動輥和被動輥之間的間隙,避免主動輥和被動輥之間直接摩擦引起輥皮地磨損,結合游標鎖緊回路,變頻調速技術制定了一套輥子間隙的高速方法,充分保證了粒度要求,液壓缸的無桿用蓄能器儲存能量,同時蓄能器起緩沖作用。
上下輥的安全閥及工作壓力分別調整:啟動電機,油泵打油,三位四通p型換向閥9a失電,處于中位,在操作臺上調節先導型比例電磁式溢流7至設定壓力值,當破碎要求或被破碎材料變化時,可以在控制臺上很方便地征調壓力值;二位二通單電磁閥6工,6b得電,到液壓缸和先導型比例電磁式溢流閥7的回路關閉,同時,三位四通p型換向閥9a得電,到蓄能器的回路接通,調節安全閥11a至設定壓力值即可;啟動電機,油泵打油三位四通p型換向閥9a失電,處于中位,在操作臺上調節先導型比例電磁式澄澈閥7至設定壓力值,當破碎要求或被破碎材料變化時,可以在控制臺上很方便地重設壓力值,二位二通單電磁閥6a,6b得電,到液壓缸和先導型比例電磁式溢流閥7的回路關閉,同時三位四通p型換向閥9b得電,到蓄能器的回路接通,調節安全閥11b至設定壓力值即可。
液壓缸的鎖緊及輥縫的調節:調節好壓力值后,上下輥的輥縫分別調整。下被動輥輥縫的調節 不啟動主電機,只啟動油泵的電機,使油泵打油,再使換向閥左右換向若干次,使液壓缸推動被動輥來回運動自如,從機殼的孔處(車削皮用)均介入3~4根標尺,用手拽不動標尺為止,使三位四通p型換向閥失電,閥芯為中位,將液壓鎖緊系統封閉,從而使液壓缸定位。利用變頻調速技術慢速反轉主動輥,取出標尺,標尺的百度即為輥縫的寬度;上被動輥輥縫調節原理同上。此輥縫液壓調節系統能準確調節輥縫的詆毀,系統剛性好,上下輥的工作壓力可以分別調整,以滿足不同的工作,從而很好的保證破碎粒度,因主動輥和被動輥之間無直接接觸,再使用皮帶上主動輥帶動下被動輥,下主動輥帶動上被動輥,有效減少主動輥和被動輥之間的速率差,很好的減少了輥皮的磨損,大大延長了輥子的使用壽命。
改進后的新型四輥破碎機調整方便,結構緊湊,操作簡單,而且調整方便,安全可靠,破碎效率高,使用這套輥縫液壓調節系統的四輥破碎機比同等破碎能力且依靠彈簧力四輥破碎機體積和噪音小的多。能滿足現代大型工廠的使用要求。